今日,海南电信IPTV组播源迎来一波惊喜更新!备受期待的 CHC电影系列 终于上线,同时 “海南公共” 频道正式升级改版。
📺 重点变化一览
1. 频道改版升级 海南本地频道迎来重要调整,“海南公共” 频道已正式升级为 “海南社会与法” 频道,并于今日正式上线播出。新频道将带来更多法治视角的内容,记得更新列表查看哦。
海南社会与法
2. 节目数量增加
本次针对组播段 239.253.64.(1-255):5140 进行了扫描。
- 扫描结果: 共扫出 209 个有效节目。
- 对比增量: 相比我之前收藏的列表,本次 新增了11个 频道!
🆕 新增频道详情
这次新增的11个频道含金量极高,不仅有大家心心念念的CHC电影系列,还有央视4K和CGTN外语全家桶。以下是详细参数:
新增节目
🎥 影迷狂喜·CHC系列
画质为1080P:
- CHC家庭影院:
239.253.64.50:5140(1920×1080, 25fps) - CHC动作电影:
239.253.64.51:5140(1920×1080, 25fps) - CHC影迷电影:
239.253.64.52:5140(1920×1080, 25fps)
🌟 视觉盛宴·超高清
- CCTV-4K 超高清:
239.253.64.48:5140(3840×2160, 50fps)- 点评:真4K,50帧丝滑流畅,看体育比赛必备。
🌍 国际视野·CGTN系列
- CGTN (主频):
239.253.64.68:5140(1920×1080) - CGTN 西语:
239.253.64.71:5140 - CGTN 法语:
239.253.64.73:5140 - CGTN 阿语:
239.253.64.74:5140 - CGTN 俄语:
239.253.64.75:5140
📡 海外连线·CCTV4分频
- CCTV4 欧洲版:
239.253.64.77:5140 - CCTV4 美洲版:
239.253.64.78:5140
📝 现网组播源特点总结
经过对这209个频道的整理,目前海南电信IPTV的组播源呈现以下特点,各位发烧友在整理列表时可以参考:
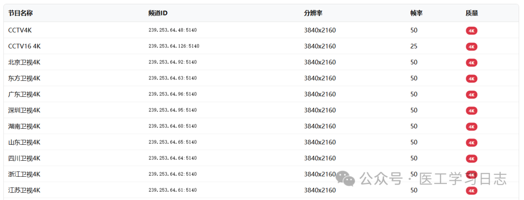
- 4K覆盖完善: 央视及主流4K频道基本齐全,画质有保障。
4K节目
2. 卫视高清化不完全: 虽然主流卫视已高清,但仍有部分省级卫视(如 四川、云南、广西、山西、陕西 等)目前只能扫到标清信号。
- 地市级只有标清: 所有的市级频道目前均为标清流,未发现高清版本。
📥 获取方式
海南电信 组播节目列表,共 209 个频道。包含高清、超高清等多种画质选择。
| 节目名称 | 频道ID | 分辨率 | 帧率 | 质量 |
|---|---|---|---|---|
|
CCTV4K |
239.253.64.48:5140 |
3840×2160 | 50 |
4K |
|
CCTV16 4K |
239.253.64.126:5140 |
3840×2160 | 25 |
4K |
|
北京卫视4K |
239.253.64.92:5140 |
3840×2160 | 50 |
4K |
|
东方卫视4K |
239.253.64.63:5140 |
3840×2160 | 50 |
4K |
|
广东卫视4K |
239.253.64.96:5140 |
3840×2160 | 50 |
4K |
|
深圳卫视4K |
239.253.64.95:5140 |
3840×2160 | 50 |
4K |
|
湖南卫视4K |
239.253.64.60:5140 |
3840×2160 | 50 |
4K |
|
山东卫视4K |
239.253.64.65:5140 |
3840×2160 | 50 |
4K |
|
四川卫视4K |
239.253.64.64:5140 |
3840×2160 | 50 |
4K |
|
浙江卫视4K |
239.253.64.62:5140 |
3840×2160 | 50 |
4K |
|
江苏卫视4K |
239.253.64.61:5140 |
3840×2160 | 50 |
4K |
|
爱上4K |
239.253.64.243:5140 |
3840×2160 | 25 |
4K |
|
CCTV1 |
239.253.64.120:5140 |
1920×1080 | 25 |
HD |
|
CCTV2 |
239.253.64.195:5140 |
1920×1080 | 25 |
HD |
|
CCTV3 |
239.253.64.244:5140 |
1920×1080 | 25 |
HD |
|
CCTV4 |
239.253.64.196:5140 |
1920×1080 | 25 |
HD |
|
CCTV4欧洲 |
239.253.64.77:5140 |
1920×1080 | 25 |
HD |
|
CCTV4美洲 |
239.253.64.78:5140 |
1920×1080 | 25 |
HD |
|
CCTV5 |
239.253.64.245:5140 |
1920×1080 | 25 |
HD |
|
CCTV5+ |
239.253.64.100:5140 |
1920×1080 | 25 |
HD |
|
CCTV6 |
239.253.64.246:5140 |
1920×1080 | 25 |
HD |
|
CCTV7 |
239.253.64.54:5140 |
1920×1080 | 25 |
HD |
|
CCTV8 |
239.253.64.247:5140 |
1920×1080 | 25 |
HD |
|
CCTV9 |
239.253.64.76:5140 |
1920×1080 | 25 |
HD |
|
CCTV10 |
239.253.64.87:5140 |
1920×1080 | 25 |
HD |
|
CCTV11 |
239.253.64.70:5140 |
1920×1080 | 25 |
HD |
|
CCTV12 |
239.253.64.97:5140 |
1920×1080 | 25 |
HD |
|
CCTV13 |
239.253.64.59:5140 |
1920×1080 | 25 |
HD |
|
CCTV14 |
239.253.64.115:5140 |
1920×1080 | 25 |
HD |
|
CCTV15 |
239.253.64.72:5140 |
1920×1080 | 25 |
HD |
|
CCTV16 |
239.253.64.251:5140 |
1920×1080 | 25 |
HD |
|
CCTV17 |
239.253.64.67:5140 |
1920×1080 | 25 |
HD |
|
CETV1 |
239.253.64.169:5140 |
1920×1080 | 25 |
HD |
|
CETV2SD |
239.253.64.128:5140 |
720×576 | 25 |
SD |
|
CETV4SD |
239.253.64.139:5140 |
720×576 | 25 |
SD |
|
CGTN |
239.253.64.68:5140 |
1920×1080 | 25 |
HD |
|
CGTN纪录 |
239.253.64.58:5140 |
1920×1080 | 25 |
HD |
|
CGTN阿语 |
239.253.64.74:5140 |
1920×1080 | 25 |
HD |
|
CGTN俄语 |
239.253.64.75:5140 |
1920×1080 | 25 |
HD |
|
CGTN西语 |
239.253.64.71:5140 |
1920×1080 | 25 |
HD |
|
CGTN法语 |
239.253.64.73:5140 |
1920×1080 | 25 |
HD |
|
CHC影迷电影 |
239.253.64.52:5140 |
1920×1080 | 25 |
HD |
|
CHC家庭影院 |
239.253.64.50:5140 |
1920×1080 | 25 |
HD |
|
CHC动作电影 |
239.253.64.51:5140 |
1920×1080 | 25 |
HD |
|
金鹰纪实 |
239.253.64.168:5140 |
1920×1080 | 25 |
HD |
|
中国天气 |
239.253.64.79:5140 |
1920×1080 | 25 |
HD |
|
重庆卫视 |
239.253.64.55:5140 |
1920×1080 | 25 |
HD |
|
江苏卫视 |
239.253.64.202:5140 |
1920×1080 | 25 |
HD |
|
浙江卫视 |
239.253.64.206:5140 |
1920×1080 | 25 |
HD |
|
东方卫视 |
239.253.64.201:5140 |
1920×1080 | 25 |
HD |
|
深圳卫视 |
239.253.64.203:5140 |
1920×1080 | 25 |
HD |
|
北京卫视 |
239.253.64.204:5140 |
1920×1080 | 25 |
HD |
|
山东卫视 |
239.253.64.208:5140 |
1920×1080 | 25 |
HD |
|
天津卫视 |
239.253.64.198:5140 |
1920×1080 | 25 |
HD |
|
贵州卫视 |
239.253.64.197:5140 |
1920×1080 | 25 |
HD |
|
四川卫视SD |
239.253.64.36:5140 |
720×576 | 25 |
SD |
|
云南卫视SD |
239.253.64.147:5140 |
720×576 | 25 |
SD |
|
广西卫视SD |
239.253.64.45:5140 |
720×576 | 25 |
SD |
|
黑龙江卫视 |
239.253.64.205:5140 |
1920×1080 | 25 |
HD |
|
安徽卫视 |
239.253.64.129:5140 |
1920×1080 | 25 |
HD |
|
山西卫视SD |
239.253.64.31:5140 |
720×576 | 25 |
SD |
|
江西卫视 |
239.253.64.56:5140 |
1920×1080 | 25 |
HD |
|
湖北卫视 |
239.253.64.207:5140 |
1920×1080 | 25 |
HD |
|
海南卫视 |
239.253.64.253:5140 |
1920×1080 | 25 |
HD |
|
陕西卫视SD |
239.253.64.37:5140 |
720×576 | 25 |
SD |
|
东南卫视 |
239.253.64.66:5140 |
1920×1080 | 25 |
HD |
|
厦门卫视SD |
239.253.64.179:5140 |
720×576 | 25 |
SD |
|
吉林卫视 |
239.253.64.57:5140 |
1920×1080 | 25 |
HD |
|
辽宁卫视 |
239.253.64.150:5140 |
1920×1080 | 25 |
HD |
|
内蒙古卫视SD |
239.253.64.144:5140 |
720×576 | 25 |
SD |
|
湖南卫视 |
239.253.64.114:5140 |
1920×1080 | 25 |
HD |
|
广东卫视 |
239.253.64.200:5140 |
1920×1080 | 25 |
HD |
|
河南卫视 |
239.253.64.157:5140 |
1920×1080 | 25 |
HD |
|
河北卫视 |
239.253.64.210:5140 |
1920×1080 | 25 |
HD |
|
宁夏卫视 |
239.253.64.88:5140 |
1920×1080 | 25 |
HD |
|
甘肃卫视 |
239.253.64.156:5140 |
1920×1080 | 25 |
HD |
|
青海卫视SD |
239.253.64.46:5140 |
720×576 | 25 |
SD |
|
新疆卫视 |
239.253.64.85:5140 |
1920×1080 | 25 |
HD |
|
西藏卫视 |
239.253.64.84:5140 |
1920×1080 | 25 |
HD |
|
兵团卫视 |
239.253.64.86:5140 |
1920×1080 | 25 |
HD |
|
三沙卫视 |
239.253.64.112:5140 |
1920×1080 | 25 |
HD |
|
金鹰卡通SD |
239.253.64.148:5140 |
720×576 | 25 |
SD |
|
嘉佳卡通SD |
239.253.64.127:5140 |
720×576 | 25 |
SD |
|
卡酷少儿SD |
239.253.64.230:5140 |
720×576 | 25 |
SD |
|
山东教育卫视SD |
239.253.64.241:5140 |
720×576 | 25 |
SD |
|
财富天下SD |
239.253.64.217:5140 |
720×576 | 25 |
SD |
|
睛彩竞技 |
239.253.64.151:5140 |
1920×1080 | 25 |
HD |
|
睛彩广场舞 |
239.253.64.154:5140 |
1920×1080 | 25 |
HD |
|
睛彩篮球 |
239.253.64.152:5140 |
1920×1080 | 25 |
HD |
|
睛彩青少 |
239.253.64.153:5140 |
1920×1080 | 25 |
HD |
|
古装剧场 |
239.253.64.221:5140 |
1920×1080 | 25 |
HD |
|
军旅剧场 |
239.253.64.228:5140 |
1920×1080 | 25 |
HD |
|
海南自贸 |
239.253.64.119:5140 |
1920×1080 | 25 |
HD |
|
海南新闻 |
239.253.64.121:5140 |
1920×1080 | 25 |
HD |
|
海南社会与法 |
239.253.64.14:5140 |
1920×1080 | 25 |
HD |
|
海南文旅 |
239.253.64.122:5140 |
1920×1080 | 25 |
HD |
|
海南少儿 |
239.253.64.124:5140 |
1920×1080 | 25 |
HD |
|
海口1SD |
239.253.64.6:5140 |
720×576 | 25 |
SD |
|
海口2SD |
239.253.64.7:5140 |
720×576 | 25 |
SD |
|
海口3SD |
239.253.64.8:5140 |
720×576 | 25 |
SD |
|
三亚1SD |
239.253.64.9:5140 |
720×576 | 25 |
SD |
|
海南万宁SD |
239.253.64.167:5140 |
720×576 | 25 |
SD |
|
海南东方SD |
239.253.64.111:5140 |
720×576 | 25 |
SD |
|
海南临高SD |
239.253.64.155:5140 |
720×576 | 25 |
SD |
|
海南保亭SD |
239.253.64.159:5140 |
720×576 | 25 |
SD |
|
海南儋州SD |
239.253.64.107:5140 |
720×576 | 25 |
SD |
|
海南定安SD |
239.253.64.110:5140 |
720×576 | 25 |
SD |
|
海南屯昌SD |
239.253.64.117:5140 |
720×576 | 25 |
SD |
|
海南文昌SD |
239.253.64.105:5140 |
720×576 | 25 |
SD |
|
海南昌江SD |
239.253.64.108:5140 |
720×576 | 25 |
SD |
|
海南澄迈SD |
239.253.64.109:5140 |
720×576 | 30 |
SD |
|
海南琼中SD |
239.253.64.165:5140 |
720×576 | 25 |
SD |
|
海南琼海SD |
239.253.64.106:5140 |
720×576 | 25 |
SD |
|
海南白沙SD |
239.253.64.118:5140 |
720×576 | 25 |
SD |
|
海南陵水SD |
239.253.64.116:5140 |
720×576 | 25 |
SD |
|
海南风景SD |
239.253.64.166:5140 |
720×576 | 25 |
SD |
|
海南风景SD |
239.253.64.69:5140 |
720×576 | 25 |
SD |
|
海南风景SD |
239.253.64.82:5140 |
720×576 | 25 |
SD |
|
海南风景SD |
239.253.64.83:5140 |
720×576 | 25 |
SD |
|
少儿动画 |
239.253.64.232:5140 |
1920×1080 | 25 |
HD |
|
IPTV3 |
239.253.64.238:5140 |
1920×1080 | 25 |
HD |
|
IPTV3 |
239.253.64.10:5140 |
1920×1080 | 25 |
HD |
|
IPTV5 |
239.253.64.125:5140 |
1920×1080 | 25 |
HD |
|
IPTV5 |
239.253.64.26:5140 |
1920×1080 | 25 |
HD |
|
IPTV8 |
239.253.64.160:5140 |
1920×1080 | 25 |
HD |
|
IPTV8 |
239.253.64.164:5140 |
1920×1080 | 25 |
HD |
|
IPTV热播剧场 |
239.253.64.211:5140 |
1920×1080 | 25 |
HD |
|
IPTV经典电影 |
239.253.64.227:5140 |
1920×1080 | 25 |
HD |
|
IPTV魅力时尚 |
239.253.64.231:5140 |
1920×1080 | 25 |
HD |
|
IPTV谍战剧场 |
239.253.64.212:5140 |
1920×1080 | 25 |
HD |
|
IPTV相声小品 |
239.253.64.214:5140 |
1920×1080 | 25 |
HD |
|
IPTV野外 |
239.253.64.215:5140 |
1920×1080 | 25 |
HD |
|
IPTV法治 |
239.253.64.213:5140 |
1920×1080 | 25 |
HD |
|
城市剧场 |
239.253.64.218:5140 |
1920×1080 | 25 |
HD |
|
音乐现场 |
239.253.64.235:5140 |
1920×1080 | 25 |
HD |
|
IPTV国学 |
239.253.64.222:5140 |
1920×1080 | 25 |
HD |
|
地理 |
239.253.64.219:5140 |
1920×1080 | 25 |
HD |
|
美人 |
239.253.64.123:5140 |
1920×1080 | 25 |
HD |
|
解密 |
239.253.64.141:5140 |
1920×1080 | 25 |
HD |
|
军事 |
239.253.64.229:5140 |
1920×1080 | 25 |
HD |
|
戏曲 |
239.253.64.234:5140 |
1920×1080 | 25 |
HD |
|
早教 |
239.253.64.236:5140 |
1920×1080 | 25 |
HD |
|
动画 |
239.253.64.163:5140 |
1920×1080 | 25 |
HD |
|
好学生 |
239.253.64.223:5140 |
1920×1080 | 25 |
HD |
|
墨宝 |
239.253.64.158:5140 |
1920×1080 | 25 |
HD |
|
爱生活 |
239.253.64.216:5140 |
1920×1080 | 25 |
HD |
|
武术 |
239.253.64.170:5140 |
1920×1080 | 25 |
HD |
|
高网 |
239.253.64.250:5140 |
1920×1080 | 25 |
HD |
|
足球 |
239.253.64.237:5140 |
1920×1080 | 25 |
HD |
|
武侠剧场 |
239.253.64.254:5140 |
1920×1080 | 25 |
HD |
|
喜剧影院 |
239.253.64.233:5140 |
1920×1080 | 25 |
HD |
|
动作影院 |
239.253.64.220:5140 |
1920×1080 | 25 |
HD |
|
家庭影院 |
239.253.64.225:5140 |
1920×1080 | 25 |
HD |
|
爱上4K |
239.253.64.49:5140 |
1920×1080 | 25 |
HD |
|
电信宣传 |
239.253.64.80:5140 |
1920×1080 | 25 |
HD |
|
百事通 |
239.253.64.189:5140 |
1920×1080 | 25 |
HD |
|
百视通 |
239.253.64.184:5140 |
1920×1080 | 25 |
HD |
|
百视通 |
239.253.64.185:5140 |
1920×1080 | 25 |
HD |
|
百视通 |
239.253.64.186:5140 |
1920×1080 | 25 |
HD |
|
百视通 |
239.253.64.187:5140 |
1920×1080 | 25 |
HD |
|
百视通 |
239.253.64.188:5140 |
1920×1080 | 25 |
HD |
|
百视通 |
239.253.64.190:5140 |
1920×1080 | 25 |
HD |
|
精选电影 |
239.253.64.224:5140 |
1920×1080 | 25 |
HD |
|
CCTV1SD |
239.253.64.12:5140 |
720×576 | 25 |
SD |
|
CCTV2SD |
239.253.64.13:5140 |
720×576 | 25 |
SD |
|
CCTV4SD |
239.253.64.15:5140 |
720×576 | 25 |
SD |
|
CCTV5SD |
239.253.64.23:5140 |
720×576 | 25 |
SD |
|
CCTV7SD |
239.253.64.16:5140 |
720×576 | 25 |
SD |
|
CCTV9SD |
239.253.64.242:5140 |
720×576 | 25 |
SD |
|
CCTV10SD |
239.253.64.18:5140 |
720×576 | 25 |
SD |
|
CCTV11SD |
239.253.64.19:5140 |
720×576 | 25 |
SD |
|
CCTV12SD |
239.253.64.20:5140 |
720×576 | 25 |
SD |
|
CCTV13SD |
239.253.64.21:5140 |
720×576 | 25 |
SD |
|
CCTV14SD |
239.253.64.22:5140 |
720×576 | 25 |
SD |
|
CCTV17SD |
239.253.64.53:5140 |
720×576 | 25 |
SD |
|
CETV1SD |
239.253.64.252:5140 |
720×576 | 25 |
SD |
|
CGTNSD |
239.253.64.17:5140 |
720×576 | 25 |
SD |
|
重庆卫视SD |
239.253.64.35:5140 |
720×576 | 25 |
SD |
|
江苏卫视SD |
239.253.64.27:5140 |
720×576 | 25 |
SD |
|
浙江卫视SD |
239.253.64.28:5140 |
720×576 | 25 |
SD |
|
东方卫视SD |
239.253.64.25:5140 |
720×576 | 25 |
SD |
|
深圳卫视SD |
239.253.64.145:5140 |
720×576 | 25 |
SD |
|
北京卫视SD |
239.253.64.24:5140 |
720×576 | 25 |
SD |
|
山东卫视SD |
239.253.64.30:5140 |
720×576 | 25 |
SD |
|
天津卫视SD |
239.253.64.40:5140 |
720×576 | 25 |
SD |
|
贵州卫视SD |
239.253.64.47:5140 |
720×576 | 25 |
SD |
|
黑龙江卫视SD |
239.253.64.42:5140 |
720×576 | 25 |
SD |
|
安徽卫视SD |
239.253.64.29:5140 |
720×576 | 25 |
SD |
|
江西卫视SD |
239.253.64.34:5140 |
720×576 | 25 |
SD |
|
湖北卫视SD |
239.253.64.33:5140 |
720×576 | 25 |
SD |
|
海南卫视SD |
239.253.64.5:5140 |
720×576 | 25 |
SD |
|
东南卫视SD |
239.253.64.43:5140 |
720×576 | 25 |
SD |
|
吉林卫视SD |
239.253.64.142:5140 |
720×576 | 25 |
SD |
|
辽宁卫视SD |
239.253.64.41:5140 |
720×576 | 25 |
SD |
|
湖南卫视SD |
239.253.64.32:5140 |
720×576 | 25 |
SD |
|
广东卫视SD |
239.253.64.44:5140 |
720×576 | 25 |
SD |
|
河南卫视SD |
239.253.64.38:5140 |
720×576 | 25 |
SD |
|
河北卫视SD |
239.253.64.39:5140 |
720×576 | 25 |
SD |
|
宁夏卫视SD |
239.253.64.89:5140 |
720×576 | 25 |
SD |
|
甘肃卫视SD |
239.253.64.140:5140 |
720×576 | 25 |
SD |
|
新疆卫视SD |
239.253.64.146:5140 |
720×576 | 25 |
SD |
|
西藏卫视SD |
239.253.64.143:5140 |
720×576 | 25 |
SD |
|
兵团卫视SD |
239.253.64.178:5140 |
720×576 | 25 |
SD |
|
三沙卫视SD |
239.253.64.113:5140 |
720×576 | 25 |
SD |
|
海南自贸SD |
239.253.64.1:5140 |
720×576 | 25 |
SD |
|
海南新闻SD |
239.253.64.11:5140 |
720×576 | 25 |
SD |
|
海南社会与法SD |
239.253.64.2:5140 |
720×576 | 25 |
SD |
|
海南文旅SD |
239.253.64.3:5140 |
720×576 | 25 |
SD |
|
海南少儿SD |
239.253.64.4:5140 |
720×576 | 25 |
SD |
使用方法:http://ip头/udp/id ,IP头请自行搜索或者去IPTV神器(http://iptv.cqshushu.com)获取。
(本文数据基于个人设备于2026年1月16日实测,仅供技术交流)
📚 往期精彩文章推荐
🌟 与你互动
嗨~这里是【医工学习日志】的温暖小窝!
📩 随时戳一戳 :后台留言任何问题,树树会带着光速回复闪现!
💡 奇思妙想征集令 :
👉 遇到有趣资源?戳我分享!
👉 想看的硬核测评?甩题过来!
🔥 你的脑洞,可能成为下期爆款文章哦~
如需商务,请加V注明来意,不闲聊:

📝 栏目信息
策划编辑 ✨ 树树 ✨
技术支撑 @恩山无线论坛 & Github & 瀚思彼岸
📜 版权声明
内容说明:
-
原创文章转载请私信授权;
-
部分素材源自网络,版权归属原作者;
-
如觉侵权,请凭权属证明联系删除